期权智投播报 | 多张PUT单翻倍 AMD近期持续下挫
一、美股指数期权一览
当前美股指数期权市场成交量上行,认沽/认购比例略有下行。
今日到期的标普500指数期权成交量分布:Call单与Put单分布存在分歧,Put单峰值在6780点,Call单峰值在6825点。
今日到期的纳斯达克100指数期权成交量分布:Call单峰值为25100,Put单峰值在24600点。
二、美股期权成交榜
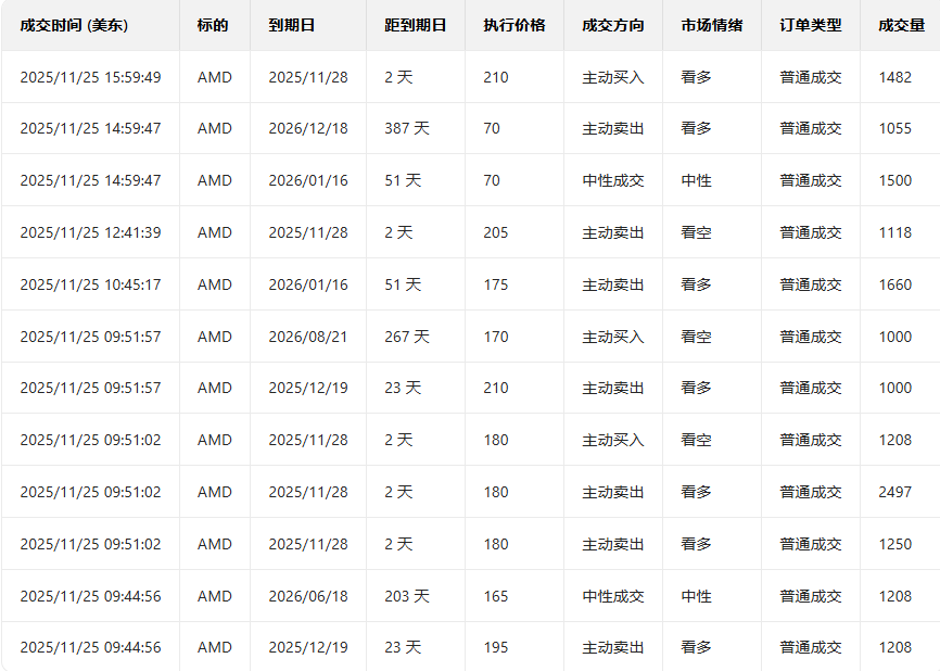
1、美国超微公司上一交易日跌4.15%,前一日认沽/认购比例上行,成交量上行。
观察本周五到期的Put单,多张翻倍。
观察期权异动大单,临收盘前大户以看多较多。
2、Strategy上一交易日跌3.835%,前一日认沽/认购比例下行,成交量上行。
观察期权异动大单,临收盘前大户以看多较多。
美股期权成交量排行榜前十
美股期权成交量排行榜前十
三、美股ETF期权成交榜美股ETF期权成交量排行榜前十
美股ETF引申波幅排行榜前十(标的要求:市值>100亿美元)
(文章来源:哈富证券)
